

产品简介:
高(gāo)压细水雾灭火系统利用纯水作为灭火介质,采用特(tè)殊的喷头在特定的压力工作下(通常为10MPa)将水流(liú)分解成细(xì)小水滴进行灭火的一种固定(dìng)式灭(miè)火系统(tǒng),具有(yǒu)高效、经济、适用范围(wéi)广等特点(diǎn),已成为替代哈龙灭火(huǒ)系统的重要技术,具有广(guǎng)泛的应用(yòng)前景。
定义:
细水雾灭(miè)火系统(tǒng):由一个或多个细(xì)水雾喷头、供水管网、加压供水设备及相(xiàng)关控制装置等组成,能在火灾发生时向保护对象或空间喷放(fàng)细水(shuǐ)雾并扑灭、抑制、或控制(zhì)火灾的自动灭火系统。细水雾:在喷头最小工作压力下喷放,距离喷(pēn)头轴线向下 1m 的平面进行测量,雾滴粒径Dv0.99小(xiǎo)于(yú) 400μm,且 Dv0.50小于 200μm 的水雾。
系统组成
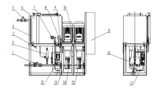
泵组式细(xì)水雾灭火系统一般由高压主泵、备用泵、稳压泵、电磁阀、过滤器、泵控制柜、水箱组件、供水管网、区域阀箱组件、高压细水雾喷头(包括开式、闭式)及火灾报警控制系统(tǒng)及补水泵等部件组成。图1是高压细水雾(wù)泵组组成图

图1
1.主控制阀 .2 安全泄压阀 .3 排污阀 .4 液位计及液动(dòng)开关 .5 进水电磁阀 .6 水箱 .7 测试阀 8. 9 压力表 .压力(lì)传感器10.高压泵 . 11 泵控制柜 . 12 稳压泵 . 13 泵进水管 . 14 泵出水(shuǐ)管 . 15 高压泵单向阀 . 16 稳压(yā)泵(bèng)单向阀 . 1 7 稳夺泵检修阀
工作原理(lǐ)
图2是细水雾灭火系统的工作原理(lǐ)图:在准工作状况下,细水雾系统从泵组出口至区域阀前(qián)的(de)管(guǎn)网内(闭式是从泵组出口至喷头的管(guǎn)网)维持一定压力,当压力低于稳压泵的设定启动压力10bar时,稳(wěn)压泵(bèng)启动,使系统管网维持稳定压力(10-12)bar,稳压泵运行(háng)超过1 0秒钟后压力仍达不到12 bar时,主泵启动,稳压泵停(tíng)止。
2 .1 水箱进水口处接有补水电磁阀,水源经过过滤器和补水电磁阀后进入水箱;水箱(xiāng)配(pèi)有液位控制(zhì)器,实现对水箱(xiāng)水位的自动控制。补水电磁阀在水箱低水位时打开,高水位时(shí)关闭。可(kě)以通过泵组(zǔ)控制盘,实现高压细水雾灭(miè)火系统的启动、停止(zhǐ)及系统运行状况监视。
2 .2 当火灾自动报(bào)警系(xì)统探测到并确认火灾后,延(yán)时(0~30秒)后联(lián)动开启相应区域的电动阀,管网内压力迅速下降,高压泵组启动(dòng)。为了保证(zhèng)系统可靠运行,符合设计规范,区域电动阀启动还可以通过手动、电动或远程直线启动实现(xiàn);高(gāo)压(yā)泵(bèng)组还可以手动、联动或远程直(zhí)线启动。图3是高压(yā)细水(shuǐ)雾灭火系统运行流程图。


高压(yā)细水雾系统主要设备参数
1.高压细水雾(wù)泵组高压泵组由高压泵、稳压泵(bèng)、泵控制柜、水箱(xiāng)(含液位显示及控制器(qì))、水箱进水过滤器及电磁阀、安全(quán)泄压(yā)阀、压力传感器(qì)、机架及连接管道、阀件(jiàn)等组成。由液位控制(zhì)器实现(xiàn)对水箱自动补水;安全泄(xiè)压阀用于调节泵组的出口压力;泵组部件材质为(wéi)不锈(xiù)钢高压泵组结构紧凑,体积(jī)小,整个(gè)泵组占地面积约1.5~3 m2,输出流量及压力波动极小(xiǎo),其流量的稳定性及(jí)功率体积比居同类产品的领先水平。


高压(yā)泵参数

2.细水雾喷头参数

2 .2 闭式细水雾喷头

3 .区域控制阀组
区域控制阀组由系统控制(电动)阀、供水球阀、压力开关、压力表及连接(jiē)管道等组成。区域控制阀组(zǔ)材质为不锈钢,其最 大工作压(yā)力为16.0MPa,输入电压为AC 220V。阀有手动启动功能(néng),能进行电动及机械应急启动。区域控制(zhì)阀组设有试(shì)验装置,用于对系统进行调试及检(jiǎn)测。区域控制阀(fá)组结构紧凑,启动灵活、可(kě)靠。



高压细水雾系统操作(zuò)
细水雾系统具有自动启(qǐ)动,手(shǒu)动电动(dòng)启动(远程或就地)、机械应急启动三种启动方式。
3.1系统的自动启动:
当保护区内发生火灾时,火灾探测器探测到火灾,发出信号至火(huǒ)灾报警控制器。火灾(zāi)报警控制器根据火灾探测器的(de)地址确认发生火灾的区域,然后发出(chū)联动启动灭火系统的控制(zhì)信号,打开相应的区域阀。区域阀打开后管道压力下降,稳(wěn)压泵自动启动运行超过1 0秒钟(zhōng)后因为压力仍达不到12bar,高压主泵自动启动,系统管(guǎn)道内水迅速达到工作压(yā)力,并通过高(gāo)压细水(shuǐ)雾(wù)喷头喷射而出,产生细水雾(wù)扑灭火灾。
3.2系统还有手动电气启动:
远程启动:当人发现火灾发生时,在火灾探测器尚未动(dòng)作的情况下,可以通过远程消防控制中心启动相应区(qū)域的电动阀(或电磁阀)按钮,达到(dào)启动区域阀的目的,水泵能自动启动进行供水灭火。就地(dì)启动:在人发现火灾时,也可就地打开区域阀箱,按下区域阀控制按钮打(dǎ)开区域阀进行灭火。
3.3系统的(de)机械应急启动:
在火灾报(bào)警系统失灵的情况下可手动操作(zuò)区域阀上的(de)手柄打(dǎ)开区域阀进行灭火。注:闭式细水雾系统(tǒng)的紧急启动可通过(guò)敲碎(suì)闭式喷头的玻璃柱来实现。
3.4 系统恢复
灭(miè)火后,通(tōng)过按下泵控制箱面板上的急停按(àn)钮来停止主泵,再关闭区域阀箱内的区(qū)域阀。停泵后(hòu)排空主管道内的(de)压力水,如果是闭式系统还要更换(huàn)同型号规格闭式喷(pēn)头。关闭泵组处的主阀,把泵(bèng)组控制柜内的主泵启动(dòng)触点断开,按下泵控制柜面板上(shàng)的复位按钮,使(shǐ)系统处于准备状态,水箱自动开始补水,补水完成后用稳压泵对主管进行充水,直到达到正常(cháng)的系统准备工作压力( 1.0-1.2)MPa,在(zài)对主管网补水的同时要, 注意在主管道的末端进行排气。 补水完成后 按系统的调试(shì)程序对系统进行调试及检查。